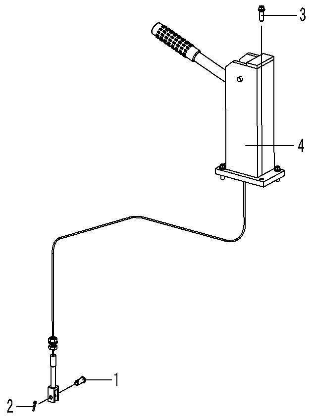
PARKING BRAKE SYSTEM LG918

Key Part No.   Description Spare parts Y/N Oty
1 4016000145 GB882-B10*28EpZn-35 PIN GB882-B10*28EpZn-35 N 1

2

4016000183

开口销GB91-3.2*22EpZn-Q235A

PIN GB91-3.2*22EpZn-Q235A

N

1

3

4011000455

螺栓GB16674-M8*25EpZn-8.8

BOLT GB16674-M8*25EpZn-8.8

N

4

4

4120000988

操纵机构总成LG23-CZJG-918

OPERATING GEAR LG23-CZJG-918

Y

1